Система выпуска отработавших газов Ford Focus
16.1. Отработавшие газы
16.1.1. Каталитический нейтрализатор
16.1.2. Датчик лямбда-зонд
16.1.3. Рабочие температуры в каталитическом нейтрализаторе
16.1.4. Обращение с каталитическим нейтрализатором
16.2. Практические советы для работы с системой выпуска отработавших газов
16.3. Проверка системы выпуска отработавших газов
16.4. Замена системы выпуска отработавших газов
16.4.1. Снятие
16.4.2. Установка
|
|
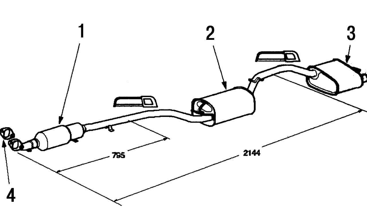
Рис. 316 а. Система выпуска отработавших газов для двигателей с рабочим объемом 1,4 — 1,6 л: 1 — каталитический нейтрализатор; 2 — центральный глушитель; 3 — задний глушитель; 4 — прокладка |
|
|
Рис. 316 б. Система выпуска отработавших газов для двигателей с рабочим объемом 1,8 — 2,0 л: 1 — зажим каталитического нейтрализатора; 2 — прокладка; 3 — каталитический нейтрализатор; 4 — кронштейн; 5 — сильфон; 6 — прокладка; 7 — центральный глушитель; 8 — задний глушитель; 9 — прокладка |
|
|
Рис. 316 в. Система выпуска отработавших газов дизельных двигателей: 1 — каталитический нейтрализатор; 2 — сильфон; 3 — центральный глушитель; 4 — задний глушитель |
Главной задачей системы выпуска автомобилей было снижение шума при выходе отработавших газов и выброс их в атмосферу. Начиная с 1980-х гг. система выпуска приобретает новые функции: встраиваемые в нее каталитические нейтрализаторы снижают до 90% всех вредных веществ, содержащихся в отработавших газах. Автомобиль Focus оборудуется системой выпуска, состоящей из одной или двух частей. В настоящее время система выпуска оборудуется регулируемым трехкомпонентным каталитическим нейтрализатором. Помимо этого газы проходят через выпускную трубу, резонатор и основной глушитель. Теплозащитные экраны по месту установки нейтрализатора и глушителей защищают кузов от воздействия высоких температур (рис. 316 а, 316 б, 316 в).
Срок службы системы выхлопа во многом зависит от условий эксплуатации автомобиля. Если вы преимущественно ездите в городских условиях или на короткие расстояния, внутри системы оседает больше конденсата, сажи и вредных кислотных соединений. Во время продолжительных поездок система прогревается до достаточно стабильных высоких температур, что естественным образом увеличивает срок ее службы. На практике система выпуска отработавших газов автомобиля Focus выдерживает до 70 000 км пробега.
Передняя часть системы выхлопа с катализатором, несмотря на окисление, служит дольше, чем остальные участки системы. В последнем по пути отработавших газов глушителе собирается наибольшее количество конденсата. Смесь из сажи и агрессивных кислотных соединений разъедает выхлопную трубу изнутри и снаружи. Поскольку охлажденные атмосферные частицы воды все время воздействуют на горячую поверхность труб системы, появляются сильные температурные колебания, которые негативно воздействуют на трубы. В конечном итоге из-за этого могут появиться элементы сквозной коррозии. Распыленные частицы воды и соли приводят к образованию наружной ржавчины, так же как и удары камней или внешние физические повреждения, вызванные, например, посадкой на грунт, в одинаковой степени содействуют разрушению системы выпуска отработавших газов. Колебательные движения двигателя могут привести к разрушению резиновых прокладок держателей.
Видео про «Система выпуска отработавших газов» для Ford Focus
https://youtube.com/watch?v=AZT5CK0dGBM
Выхлопную систему авто , делают так !!!
Замена катализатора на пламегасителя на авто Ford focus.Замена катализатора в СПБ .
Пламегаситель на Ford Focus. Замена катализатора на пламегаситель.











































